Комплектная трансформаторная подстанция наружной установки с трансформатором 2 КТПН-25…1000/6 (10)/0,4

Україна / Київ

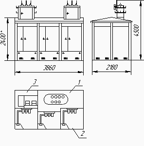
КТП наружной установки с трансформатором 2 КТПН-25…1000/6 (10)/0,4 представляет собой мобильную металлоконструкцию, выполненную в высокой степени готовности к эксплуатации, что значительно облегчает монтажные работы. Доступ для облуживания обеспечивается через двери на фасаде к распределительному устройству высокого (РУВН) и низкого напряжения (РУНН), а также задние двери в трансформаторный отсек.
В передней части справа размещено РУВН и представляет собой встроенную ячейку КСО-393 с выключателем нагрузки ВНА-ЗП, к которому подключается внешнее питание КТП. Дверь ячейки КСО-393 имеет смотровое окно для обзора внутренней части без снятия напряжения. От выключателя нагрузки ВНА-ЗП по шинам ВВ (изолированными термоусадочной изоляцией) подаётся напряжение на силовой трансформатор.
Далее от силового трансформатора также шинами НН подаётся напряжение 0,4кВ в РУНН. РУНН выполнено в виде панели ВРУ и смонтировано в передней части КТПН слева.
На фасаде РУНН размещены 3 дверки и приборы для контроля напряжения и тока. На левой двери расположена аппаратура (счётчик электрической энергии, переключатель контроля напряжения, автоматический выключатель цепей управления, освещения и т. п.), за дверью находятся пускатель, понижающий трансформатор (ОСМ-0,25). За правой дверью находится вводной рубильник РЕ и трансформаторы тока типа Т-0,66 М У3.
За нижней дверью находятся линейные автоматические выключатели ВА или рубильники RBK с предохранителями
В заднем отсеке КТПН расположен трансформатор с глухозаземлённой нейтралью.
Мощность устанавливаемого силового трансформатора, кВА 25 — 1000;
Номинальное напряжение на стороне ВН, кВ 6 - 10;
Номинальное напряжение на стороне НН, кВ 0,4 - 0,23;
Количество отходящих линий по опросному листу
отгрузки по регионам (495) 720-70-42; 903-720-70-42 ; 8-903-6471471 http://www.electromarcet.ru Электромаркет
факс: 4922-305368, 903-647-14-71

Інші оголошення в категорії Предмети роботи » Обладнання:

Тэги :

установки

установки трансформатором

установки трансформаторная

установки подстанция

установки наружной

установки ктпн-25…10006

установки комплектная

установки 10 0 4

установки 10 0 4 трансформатором

установки 10 0 4 трансформаторная

установки 10 0 4 подстанция

установки 10 0 4 наружной

установки 10 0 4 ктпн-25…10006

установки 10 0 4 комплектная

трансформатором

трансформатором установки

трансформатором трансформаторная

трансформатором подстанция

трансформатором наружной

трансформатором ктпн-25…10006

трансформатором комплектная

трансформатором 10 0 4

трансформатором 10 0 4 установки

трансформатором 10 0 4 трансформаторная

трансформатором 10 0 4 подстанция

трансформатором 10 0 4 наружной

трансформатором 10 0 4 ктпн-25…10006

трансформатором 10 0 4 комплектная

трансформаторная

трансформаторная установки

трансформаторная трансформатором

трансформаторная подстанция

трансформаторная наружной

трансформаторная ктпн-25…10006

трансформаторная комплектная

трансформаторная 10 0 4

трансформаторная 10 0 4 установки

трансформаторная 10 0 4 трансформатором

трансформаторная 10 0 4 подстанция

трансформаторная 10 0 4 наружной

трансформаторная 10 0 4 ктпн-25…10006

трансформаторная 10 0 4 комплектная

подстанция

подстанция установки

подстанция трансформатором

подстанция трансформаторная

подстанция наружной

подстанция ктпн-25…10006

подстанция комплектная

подстанция 10 0 4

подстанция 10 0 4 установки

подстанция 10 0 4 трансформатором

подстанция 10 0 4 трансформаторная

подстанция 10 0 4 наружной

подстанция 10 0 4 ктпн-25…10006

подстанция 10 0 4 комплектная

наружной

наружной установки

наружной трансформатором

наружной трансформаторная

наружной подстанция

наружной ктпн-25…10006

наружной комплектная

наружной 10 0 4

наружной 10 0 4 установки

наружной 10 0 4 трансформатором

наружной 10 0 4 трансформаторная

наружной 10 0 4 подстанция

наружной 10 0 4 ктпн-25…10006

наружной 10 0 4 комплектная

ктпн-25…10006

ктпн-25…10006 установки

ктпн-25…10006 трансформатором

ктпн-25…10006 трансформаторная

ктпн-25…10006 подстанция

ктпн-25…10006 наружной

ктпн-25…10006 комплектная

ктпн-25…10006 10 0 4

ктпн-25…10006 10 0 4 установки

ктпн-25…10006 10 0 4 трансформатором

ктпн-25…10006 10 0 4 трансформаторная

ктпн-25…10006 10 0 4 подстанция

ктпн-25…10006 10 0 4 наружной

ктпн-25…10006 10 0 4 комплектная

комплектная

комплектная установки

комплектная трансформатором

комплектная трансформаторная

комплектная подстанция

комплектная наружной

комплектная ктпн-25…10006

комплектная 10 0 4

комплектная 10 0 4 установки

комплектная 10 0 4 трансформатором

комплектная 10 0 4 трансформаторная

комплектная 10 0 4 подстанция

комплектная 10 0 4 наружной

комплектная 10 0 4 ктпн-25…10006

10 0 4

10 0 4 установки

10 0 4 трансформатором

10 0 4 трансформаторная

10 0 4 подстанция

10 0 4 наружной

10 0 4 ктпн-25…10006

10 0 4 комплектная